Please wait… 
Please wait while we process your order,
do not press the back button… 
Design 911 Design 911 supply Porsche parts, Porsche spares and Porsche accessories, to both retail and to the trade. Our Porsche product and accessory range includes brakes, exhausts, tyres, wheels and Porsche panels and interiors. https://www.design91.uk/images/schemaLogo.png https://www.design91.uk/images/schemaLogo.png +443456003478 https://www.design91.uk Facebook Instagram

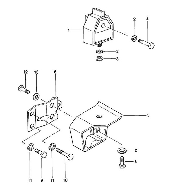
Transmission suspension - Manual transmission - 924 1980 - 1985 - PORSCHE

Click the image numbers to view product info

Diagram 306-000 Porsche 924 (1977-1988) Transmission SKU: 477399153K, transmission mounting SKU: 90002500804, washer a 10,5,SKU: 9000250080E, washer a 10,5 SKU: 90002500804, washer a 10,5,SKU: 9000250080E, washer a 10,5 SKU: 90002500804, washer a 10,5,SKU: 9000250080E, washer a 10,5 SKU: N0221492, lock nut vm 10 SKU: N0104736, hexagon-head bolt m 10 x 75 SKU: 477399153J, transmission mounting SKU: 477399167E, suspender bracket,SKU: 477399168E, suspender bracket SKU: 90007511108, hexagon-head bolt m 10 x 30 SKU: N0102407, hexagon-head boltm 8 x 20 SKU: N0103404, hexagon-head boltm 8 x 40 SKU: 90002701503, lock ring a 8 SKU: 90002701503, lock ring a 8 SKU: 90007502903, hexagon-head boltm 8 x 25 SKU: 90002500703, washer a 8,4 306-000