Please wait… 
Please wait while we process your order,
do not press the back button… 
Design 911 Design 911 supply Porsche parts, Porsche spares and Porsche accessories, to both retail and to the trade. Our Porsche product and accessory range includes brakes, exhausts, tyres, wheels and Porsche panels and interiors. https://www.design91.uk/images/schemaLogo.png https://www.design91.uk/images/schemaLogo.png +443456003478 https://www.design91.uk Facebook Instagram

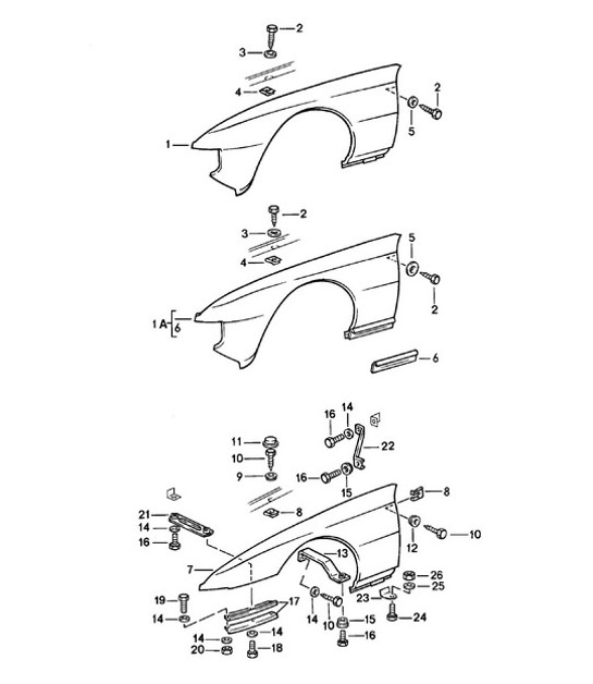
Wing 924 1980 - 1985 - PORSCHE

Click the image numbers to view product info

Diagram 801-025 Porsche 924 (1977-1988) Body SKU: 477821021M, wing,SKU: 477821022M, wing,SKU: 477821021N, wing,SKU: 477821022N, wing,SKU: 477821022M, win rdwit is necessary to rework SKU: 477821021D, wing,SKU: 477821022D, wing,SKU: 477821021J, wing,SKU: 477821022J, wing SKU: N0138911, hexagon-head tapping screw6,3 x 19 SKU: N0138911, hexagon-head tapping screw6,3 x 19 SKU: N0138911, hexagon-head tapping screw6,3 x 19 SKU: N0138911, hexagon-head tapping screw6,3 x 19 SKU: 90015100603, washer b 6,4 SKU: 90015100603, washer b 6,4 SKU: 99950700301, speed nut b 6,3 x 17 SKU: 99950700301, speed nut b 6,3 x 17 SKU: N01152427, washer a 6,4 SKU: N01152427, washer a 6,4 SKU: 477809681, attachment strip SKU: 93750310502, wing,SKU: 93750310602, wing SKU: 99950700301, speed nut b 6,3 x 17 SKU: 99950700301, speed nut b 6,3 x 17 SKU: 93750325501, spacer SKU: N0138911, hexagon-head tapping screw6,3 x 19 SKU: N0138911, hexagon-head tapping screw6,3 x 19 SKU: N0138911, hexagon-head tapping screw6,3 x 19 SKU: 93750323700M3A, capguards red,SKU: 93750323700041, capblack,SKU: 9375032370097A, capdiamond silver metallic SKU: 93750325500, spacer SKU: 93750303500, wing strut SKU: N01152427, washer a 6,4 SKU: N01152427, washer a 6,4 SKU: N01152427, washer a 6,4 SKU: N01152427, washer a 6,4 SKU: N01152427, washer a 6,4 SKU: N01152427, washer a 6,4 SKU: 93750325500, spacer SKU: 93750325500, spacer SKU: 99921701300, hexagon-head bolt m6 x 12 SKU: 99921701300, hexagon-head bolt m6 x 12 SKU: 99921701300, hexagon-head bolt m6 x 12 SKU: 99921701300, hexagon-head bolt m6 x 12 SKU: 93750351300, attachment strip SKU: 99921701400, hexagon-head bolt m6 x 16 SKU: PCG010215A, hexagon-head bolt m6 x 15 SKU: 90091001001, lock nut m 6 SKU: 93750303700, bracket SKU: 93750303900, bracket SKU: 93750114300, bracket SKU: 99921701300, hexagon-head bolt m6 x 12 SKU: N01152427, washer a 6,4 SKU: 90007601007, hexagon nut m 6 801-025