Saisissez votre numéro de TVA ici et cliquez sur Vérifier :
Il n'est pas nécessaire de saisir la partie code pays de votre numéro de TVA car elle a déjà été sélectionnée dans votre adresse de facturation ci-dessus.
Vos coordonnées ont été vérifiées. Numéro de TVA enregistré au nom de:
,
.
Votre commande sera désormais détaxée au titre de la TVA. Nous nous réservons le droit de vérifier ces détails une fois votre commande passée et de rétablir la TVA si nécessaire.
Vos données de TVA n'ont pas été reconnues ou n'étaient pas valides. Votre numéro de TVA doit correspondre à votre pays de facturation tel que spécifié ci-dessus. Il est actuellement spécifié comme . Vous n'avez pas besoin de saisir la partie code pays de votre numéro de TVA car elle a déjà été sélectionnée dans les détails de votre adresse de facturation ci-dessus.
Le service de vérification du numéro de TVA est actuellement hors ligne. Veuillez indiquer votre numéro de TVA dans le champ « Commentaires ou instructions spéciales » ci-dessous et nous appliquerons une remise de TVA après avoir passé votre commande.
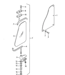
Ensemble de 2 ensembles (gauche et droite) avec fixations
Convient à :
Porsche 356 pré A / 356 A jusqu'en 1959
Réplique des vitres d'aération optionnelles disponibles en accessoire sur les Porsche 356 pré-A et coupé A. Cette option rare associait une vitre supplémentaire montée sur deux supports chromés. Fixés à l'avant de la vitre de porte, ces éléments réduisaient les courants d'air dans l'habitacle lorsque la vitre était abaissée.
Le pivot supérieur est monté à l'extérieur du cadre de la fenêtre à l'avant, la base est fixée avec des boulons à la porte.
Ces répliques de qualité concours sont dotées d'un verre marqué Duro dans un cadre épais en laiton chromé. Le support de pivot supérieur, le joint en caoutchouc, les entretoises en acrylique blanc et les fixations nécessaires sont inclus dans le kit.
Des guides de montage sont désormais fournis avec les fenêtres d'aération en option. Ils sont fixés aux portes et servent de gabarit pour faciliter le positionnement correct des trous de montage.
Schéma de référence n° 4
Numéros de référence associés
Numéros associés, remplacés, de référence croisée ou alternatifs à des fins de comparaison.
64454210000
Le produit que vous consultez fait référence à ces numéros
- Porsche 356 1950-55
- Porsche 356A 1955-59


